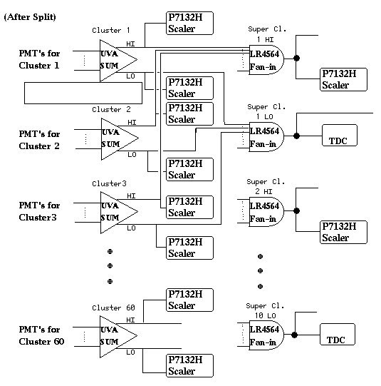
Here is a diagram of the pion beta decay trigger electronics. It is broken up into three pictures to make for more reasonable image sizes.


This is the section that forms superclusters from the individual phototube signals from each crystal.


This part shows the formation of several other signals which may be used in the trigger logic such as the delayed pion gate a second delayed pion gate (prime) and a prescaled version of each.


Here is where all the signals created in the two diagrams above come into some programmable MLUs. The MLUs can be programmed remotely to allow for changes in the trigger logic without having to access the area.